Product Summary
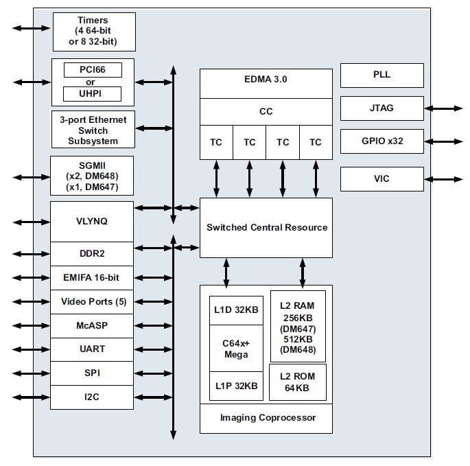
The TMS320DM648ZUT9 is a Digital Media Processor. It is the highest-performance fixed-point DSP generation in the DSP platform. The TMS320DM648ZUT9 is based on the third-generation high-performance, advanced VelociTI very-long-instruction-word (VLIW) architecture developed by Texas Instruments (TI), making these DSPs an excellent choice for digital media applications. The TMS320DM648ZUT9 is upward code-compatible from previous devices that are part of the C6000 DSP platform. The DSPs support added functionality and have an expanded instruction set from previous devices.
Parametrics
TMS320DM648ZUT9 absolute maxing ratings: (1)Supply voltage ranges: –0.5 V to 1.5 V; (2)Input voltage ranges: –0.5 V to 4.2 V; (3)Output voltage ranges: –0.5 V to 4.2 V; (4)Operating Junction temperature ranges, Tj: 0℃ to 90℃; (5)Storage temperature range, Tstg: –65℃ to 150℃.
Features
TMS320DM648ZUT9 features: (1)Enhanced Direct-Memory-Access (EDMA) Controller (64 Independent Channels); (2)3-Port Gigabit Ethernet Switch Subsystem; (3)Four 64-Bit General-Purpose Timers (Each Configurable as Two 32-Bit Timers); (4)One UART (With RTS and CTS Flow Control); (5)One 4-wire Serial Port Interface (SPI) With Two Chip-Selects; (6)Master/Slave Inter-Integrated Circuit (I2C Bus); (7)Multichannel Audio Serial Port (McASP) – Ten Serializers and SPDIF (DIT) Mode; (8)16/32-Bit Host-Port Interface (HPI); (9)32-Bit 33-/66-MHz, 3.3-V Peripheral Component Interconnect (PCI) Master/Slave Interface Conforms to PCI Specification 2.3; (10)VLYNQ Interface (FPGA Interface); (11)On-Chip ROM Bootloader.
Diagrams

| Image | Part No | Mfg | Description | ![]() |
Pricing (USD) |
Quantity | ||||||||||
|---|---|---|---|---|---|---|---|---|---|---|---|---|---|---|---|---|
![]() |
![]() TMS320DM648ZUT9 |
![]() Texas Instruments |
![]() Digital Signal Processors & Controllers (DSP, DSC) Dig Media Proc |
![]() Data Sheet |
![]()
|
|
||||||||||
| Image | Part No | Mfg | Description | ![]() |
Pricing (USD) |
Quantity | ||||||||||
![]() |
![]() TMS3112 |
![]() Other |
![]() |
![]() Data Sheet |
![]() Negotiable |
|
||||||||||
![]() |
![]() TMS3121 |
![]() Other |
![]() |
![]() Data Sheet |
![]() Negotiable |
|
||||||||||
![]() |
![]() TMS320 |
![]() Other |
![]() |
![]() Data Sheet |
![]() Negotiable |
|
||||||||||
![]() |
![]() TMS32010 |
![]() Other |
![]() |
![]() Data Sheet |
![]() Negotiable |
|
||||||||||
![]() |
![]() TMS320AV7110 |
![]() Other |
![]() |
![]() Data Sheet |
![]() Negotiable |
|
||||||||||
![]() |
![]() TMS320BC51PQ100 |
![]() Texas Instruments |
![]() Digital Signal Processors & Controllers (DSP, DSC) TMS320C51PQ - 132QFP - 100MHZ/BOOT CODE |
![]() Data Sheet |
![]() Negotiable |
|
||||||||||
(China (Mainland))










